Pat Soon-Shiong, Chairman of Chan Soon-Shiong Family Foundation, Executive Chairman at ImmunityBio, and Executive Chairman of the Los Angeles Times, shared a post on X:
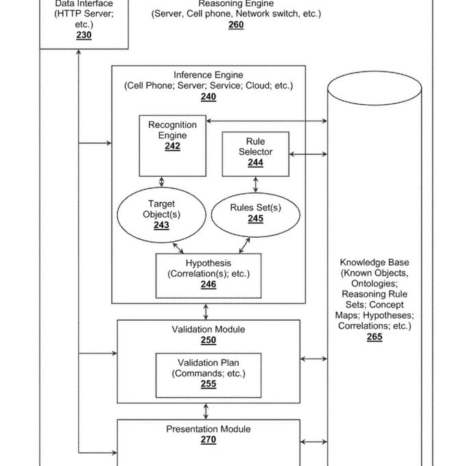
“Filed patents on reasoning and inference engines and servers into the cloud before AI was considered feasible as early as 2012 and into 2016. Inference based chips are the future of healthcare.”

More posts featuring Pat Soon-Shiong on OncoDaily.